- Beck 贝克Beck 贝克Beck 贝克Beck 贝克真空开关901.21 121M4
详细信息
品牌:Beck 贝克 加工定制:是 型号:901.21 121M4 类型:低压 测量范围:-120±20mbar kPa 测量介质:无 精度等级:无 输出信号:无 mA 防爆等级:无 防护等级:无 电源电压:无 V 接口尺寸:无 mm 真空集便器(VacuumToilet) --BECK真空开关应用
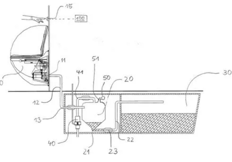
- 应用原理
B . 水增压器开始工作,使冲水喷嘴对便池进行冲水
C . 滑动阀门关闭,真空发生器停止工作
- 客户困扰
B . 路况恶劣,低电流黄金触点附杂质后,真空开关烧毁。
C. 南北方气候环境相差大,国产真空开关无法正常工作。
- 解决方案
B . 低电流金触点,改为高电流银触点,导电性低,真空开关烧毁问题解决。
C . BECK真空开关温度范围–20°C bis +85°C,开关寿命超过100万次。
- 推荐型号
压力开关 901.21 111L4
压力开关 901.21 111M4
压力开关 901.10 121D4
配套保护帽型号:6345
配套保护帽型号:6372
- 典型用户
云集(福建)实业有限公司
常州剑湖金城车辆设备有限公司
无锡万里实业集团有限公司
青岛亚通达铁路设备有限公司
山东轶骋真空科技有限公司
- 潜在客户
北京铁广恒通铁路机车配件修理厂
长春翔龙铁路客车配件有限公司
湖北恒鑫铁路机械配件有限公司
株洲巨发铁路机电科技开发有限公司
北京安沃科瑞铁路机电设备有限公司
株洲恒丰铁路配件有限公司
宝鸡宝厂铁路隧道机械配件有限公司
瑞泰潘得路铁路技术(武汉)有限公司
深圳市合丰铁路科技有限公司
广州森铁铁路车辆配件有限公司
- BECK公司介绍
BECK901系列真空被大量运用于国内各大高铁集便器,深得用户好评。
- 竞争对手
SUCO Robert Scheuffele GmbH&Co.KG / 苏克
Layher AG / 莱尔
- 国外客户名单
MONOGRAM/蒙诺格
- 零件组成
- 压力开关: BECK、SUCO、Honeywell、Layher、hydac、BD sensor、wika
- 压力表:kimo、greisinger、WIKA、fischer、TEMA、Briem
- 液位开关: WEKA、baumer、watts、vega、Bedia、hydac、jola
- 过滤器: hydac、riegler、Mahle、mpfiltri、Hawe
- 止回阀: iegler、Tiefenbach、socla、FLUID-TEAM、IMAV、Hydropa、EA、Gestra、Dr.Breit
- 真空泵: KNF、PIAB、Buhlerr、Travaini、Becker、Vaccon、Gardner Denver、COVAL、speck
- 疏水阀:BEKO、ZANDER、Gestra、BEKOMAT、ARI、Schubert & Salzer
- 潜水泵:SKF、brinkmann、Zehnder、Sager + Mack、LOWARA、KSb、RENNER、EBARA、Stubbe
- 油/气水分离器:Flamco、BEKOMAT、KUMA、BEKO、ARO TECHNOLOGIES、Abanaki、Reflex、HAMMA
Beck 常见热销型号Beck Sensortechnik GmbH 901.10111X4,Art-Nr.Beck:16645-0040 Beck Sensortechnik GmbH 901.73111M2 Beck Sensortechnik GmbH 901.21 111M4 16645-0058 Beck Sensortechnik GmbH 901.10 121D4 Beck Sensortechnik GmbH 901.21111L4 (-280mbar/-130mbar) Beck Sensortechnik GmbH 901.41 111L4 1.3 + -0.13 / 0.9 + -0.13 bar Beck Sensortechnik GmbH 901.65124H4 Beck Sensortechnik GmbH 901.11 127X1(120+-12/100+-12 mbar) Beck Sensortechnik GmbH 901.10111X4,Art-Nr.Beck:16645-0040 Beck Sensortechnik GmbH 16645-0066 90121111L4 set point -26kPa,send signal-16kPa,low limit Beck Sensortechnik GmbH 901.21 111M4 16645-0058 Beck Sensortechnik GmbH 901.10111X4,Art-Nr.Beck:16645-0040 Beck Sensortechnik GmbH 90121121M4 (G1/8 brass, -25kpa, -15kpa) Beck Sensortechnik GmbH 901.51111L4 Beck Sensortechnik GmbH 901.65124H4 Beck Sensortechnik GmbH 901.10121D4 Nr:16645-0071 (18kPa) Beck Sensortechnik GmbH 901.64.111M4 Beck Sensortechnik GmbH 901.76.111M4 Beck Sensortechnik GmbH 901.64.111M4 Beck Sensortechnik GmbH 901.10111X4,Art-Nr.Beck:16645-0040 Beck Sensortechnik GmbH 901.21 121L4(-30mbar/-60mbar) Beck Sensortechnik GmbH 901.21111L4 Nr.16645-0038+6372 Beck Sensortechnik GmbH 901.51 111L4(1.97bar/2.1bar) Beck Sensortechnik GmbH 901.67 111S6 EX Prescal® 16541-7001 -
-
产品搜索
-
产品分类
-
Ahlborn爱尔邦--代理
-
Winkelmann温克尔曼--代理
-
Beck贝克--代理
-
AIRCOM--代理
-
Honsberg豪斯派克--代理
-
PMA--代理
-
Kral--代理
-
Klaschka--代理
-
Lambrecht德国兰博瑞--代理
-
Stoerk--代理
-
ASA-RT--代理
-
proxitron波西铁龙--代理
-
SCHUNK雄克
-
HBM
-
Hoentzsch恒齐
-
Jahns雅恩斯
-
Hydac贺德克
-
Schubert & Salzer
-
Dold
-
baumer宝盟
-
GSR
-
Duplomatic
-
METO-FER
-
Flexschlauch
-
brinkmann布曼
-
R+W
-
Aerolas
-
ROLLON
-
DANLY
-
INTERCONTEC
-
greisinger
-
SCHAFFNER夏弗纳
-
Dunkermotoren德恩科
-
Roehm
-
Landefeld
-
Laetus
-
TECHAP
-
UNIMEC
-
ESD
-
Seika
-
ESCHA
-
heidenhain海德汉
-
Mayr麦尔
-
Bei Sensor/sensata
-
ASUTEC
-
WOERNER 威纳
-
GMC-Instruments/GMC-I
-
SONOTRONIC
-
ZAE
-
GMN
-
LTK
-
Fiessler
-
TWIFLEX
-
BIJUR DELIMON
-
Jaquet杰凯特
-
Goldammer
-
G.R.A.S
-
Minebea Intec茵泰科
-
LORENZ
-
ac-motoren
-
HYPROSTATIK
-
法国MILS
-
Maximator
-
OMAL欧玛尔
-
KRACHT克拉克
-
ARCA
-
Herion海隆
-
Bronkhorst
-
RINGSPAN
-
Pfaff-Silberblau 百富
-
OEMER
-
Badger Meter
-
ATOS阿托斯
-
Bopp & Reuther 博普&罗依特
-
ELABO
-
kistler奇石乐
-
ar filtrazioni
-
Montech
-
knoll
-
BD sensors
-
EAS
-
Reich
-
Stoeber
-
mder pressen
-
knf
-
mahr
-
Haff & Schneider
-
R+L
-
Pietro Fiorentini
-
HFB-waelzlager
-
DMN
-
FDI-DICHTUNGEN---FRIEDRICH
-
宾克斯binks
-
Michell Instruments
-
瑞士TBM
-
SKF斯凯孚
-
Stromag
-
HAVER & BOECKER
-
HIMMEL technologies
-
Walther Spritz
-
CEDS DURADRIVE
-
Sauter Feinmechanik
-
BREVINI -DANA布雷维尼
-
weka维卡
-
VOITH福伊特
-
LASE
-
Single
-
eDAQ 中国代理
-
IKM Instrutek
-
coax
-
suco
-
TWK
-
Schneider Electric
-
RUD+SpanSet
-
Rexroth-力士乐
-
TANDLER
-
Engel
-
HOHNER
-
HAZET
-
Elobau
-
P+F/倍加福
-
Balluff/巴鲁夫
-
IFM/易福门
-
wago
-
Wandres
-
R. STAHL
-
AREVA
-
BARKSDALE
-
EGE
-
Sitema--代理
-
WIKA威卡
-
FSG--代理
-
EA/ END Armaturen
-
Frizlen
-
ABB
-
Rauscher & Stoecklin
-
LINOS光学
-
S+R automation systems
-
FLOVEX
-
walther-praezision
-
SKYLOTEC
-
motrona
-
Tiefenbach梯芬巴赫
-
EUROTHERM 欧陆
-
G.Bee
-
Menzel Metallchemie
-
EWO / ewo H. Holzapfe--代理
-
AK Regeltechnik
-
Sera
-
WEBER-HYDRAULIK
-
HO-MATIC
-
Bridgehill
-
Vahle-法勒
-
Gemue-盖米
-
STAEUBLI--代理
-
Hegenscheidt--代理
-
Bauer Gear Motor--代理
-
HYDROTECHNIK--代理
-
HPS
-
Eaton
-
Keller
-
sunfab
-
Steute世德
-
Munters蒙特
-
Proportion-Air
-
FISCHER Mess- und Regeltechnik
-
-
公司相册
扫一扫,手机浏览
















